平衡吊的結構組成是什么樣的,詳圖來一波
來源:http://m.finanstra.com/news/287.html發布時間:2021-02-28
平衡吊主要由立柱1、回轉減速箱2、拉簧3、平衡臂4、手柄5、吊鉤6、電源控制箱7及電動機8等零部件組成,如圖所示。其外型尺寸參閱表1。

平衡吊結構示意圖

平衡吊外形尺寸表
1、立柱
立柱用以支承平衡吊回轉部分及額定起吊零件的重量,所以要求有足夠的剛度。立柱的結構一般選用大口徑無縫鋼管與連接盤、加強筋、底盤等零件焊接而成(圖9)。焊后要進行退火處理。立柱的尺寸可參閱表2。

立柱結構圖

立柱尺寸圖
立柱如改用鑄鐵件,壁厚可取焊接件的1.3-1.5倍,材料以HT30~54灰鑄鐵為宜。
2、回轉減速箱
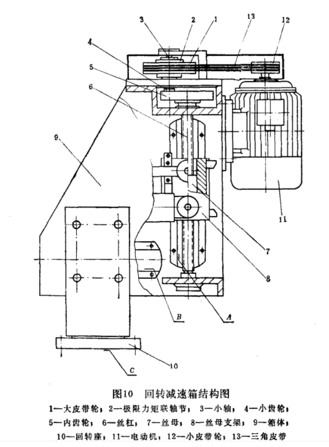
回轉減速箱由大皮帶輪1、力矩聯軸節2、小軸3、小齒輪4、內齒輪5、絲杠6、絲母7、絲母支架8、箱體9以及回轉座10等零件組成。回轉減速箱與電動機11、電源控制箱及平衡臂相連接,其結構如圖10所示。

回轉減速箱結構圖
箱體上有兩個垂直導向槽和兩個水平導向槽。垂直導向槽A面承受平衡臂的拉力,水平導向槽B面承受平衡臂的壓力。為了使平衡臂在工作中具有良好的性能,所以對導問槽有如下的要求:
1)、導向槽必須具有一定的強度、硬度和光潔度。
2)、垂直導向槽和水平導向槽要相互垂直,不垂直度不超過0.05毫米。
3)、兩個垂直導向槽的A面和兩個水平導向槽的B面分別都應有同一共面,其不共面不超過0.025毫米。
4)、箱體和回轉座組裝后,箱體上水平導向槽的B面與回轉座底平面C應相互平行,其不平行度不超過0.015/300毫米。
絲杠和絲母的配合不必要求過高。平衡臂在工作中使負載通過絲母支架上的滾輪作用在垂直導向槽的A面上,應保證不使絲杠承受任何方向的徑向力,否則會發出噪音或局部磨損而影響壽命。
為了防止平衡吊超負荷,在傳動系統中需安裝力矩聯軸節,其結構如圖11所示。

力矩聯軸節結構圖
大皮帶輪6以動配合裝在小軸4上。摩擦錐體5用鍵與小軸連接,但能在小軸上作軸向移動。壓力彈簧3的壓力大小,靠調壓螺母1來調整。動力的傳遞是通過壓力彈簧將摩擦錐體壓緊在大皮帶輪的錐面上,靠摩擦力矩將動力由大皮帶輪傳遞到小軸上。當起吊重量超過額定負載時,磨擦面就會打滑,保證平衡吊各零件不致損壞,起到安全保護作用。同時也能使平衡吊的起升和停車比較平穩。但是應該注意,在使用中不可將壓力彈簧調得過緊,否則將失去作用。
如果平衡吊與某種專用機床配套使用時(被加工零件的坯料重量不超過平衡吊的額定起吊重量),從結構上講,安全保護裝置可以省略。
車間的電源是經滑環集電器接至電源控制箱的。滑環集電器的結構如圖12所示。

滑環集電器結構圖
滑環集電器的滑環1固定在不旋轉的回轉座6上,電源導線從立柱的底部引入,通過回轉座的中心孔接在滑環上。
電刷2和電刷支架4固定在可作旋轉的箱體5上。電刷用導線接入電源控制箱。為了防止導線脫落,在電刷支架上有線夾3將導線夾緊。電刷靠彈簧片的壓力與滑環接觸,這樣不管平衡臂旋轉到任何位置時,其電路總是接通的。
3、拉簧
拉簧5是平衡吊的關鍵零件之一。拉簧的一端固定在絲母支架2的調整塊4上,另一端與平衡臂6相連接,如圖13所示。

拉簧與絲母支架、平衡臂連接圖
拉簧的作用是在空載情況下使平衡臂在其作業范圍內任意一位置時都能保證靜止不動。拉簧力量大小的確定,要使平衡臂和手柄等零件本身自重得到平衡為準,如果拉簧的拉力過大(拉簧的拉力超過了平衡臂和手柄自重的平衡力),平衡
臂和手柄等零件的重量就得不到平衡,處在被拉簧拉緊的位置,使平衡臂的之臂垂直向下(圖14a)。
如果拉簧的拉力過小,拉簧就處在被平衡臂和手柄等重量的拉伸狀態,使平衡臂的立臂向外或向立柱方向滑動(圖14b)。
拉簧與平衡臂的關系
在保證拉簧質量的情況下,為使平衡吊在空載時得到更好的平衡效果,應在絲母支架的上端裝一個可上下調整的調整塊,以調節彈簧的拉力。
4、平衡臂
平衡臂按用途不同,有A、B兩種結構型式。
(1)A型平衡臂
A型平衡臂由大橫臂1、小橫臂2、起重臂3、支承臂4、滾輪5、手柄支座6、吊鉤架7和吊鉤8等零件組成。
大橫臂和小橫臂用鐵板壓彎后對焊成空心桿件,其斷面呈長方形。橫臂的兩端焊有餃連接頭。
起重臂為一上端大、下端小、其斷面為長方形的空心桿件,上端與大橫臂、小橫臂相餃接,下端與手柄支座焊成一體。
- 上一篇:起重設備要規范使用,預防事故或隱患
- 下一篇:平衡吊有什么優勢?小編帶你來了解
- 告別笨重設備!歐力特平衡吊賦能倉儲物流精準搬運2025-11-12
- 空間受限?多工位轉移?看歐力特平衡吊如何靈活適配破難題2025-10-15
- 從倉庫轉運到站點裝卸,平衡吊優化物流搬運流程2025-09-17
- 從工廠到工地,移動平衡吊解鎖多元吊運場景2025-08-21




